电脑桌面
添加毕设投稿发表到电脑桌面
安装后可以在桌面快捷访问

25年CH地理信息科学 基于ArcGISPro的城市兴趣点专题地图制作-约20411字符终稿.docx

25年CH地理信息科学 基于ArcGISPro的城市兴趣点专题地图制作-约20411字符终稿.docx_第1页
1/44
25年CH地理信息科学 基于ArcGISPro的城市兴趣点专题地图制作-约20411字符终稿.docx_第2页
2/44
25年CH地理信息科学 基于ArcGISPro的城市兴趣点专题地图制作-约20411字符终稿.docx_第3页
3/44
25年CH地理信息科学 基于ArcGISPro的城市兴趣点专题地图制作-约20411字符终稿.docx_第4页
4/44
25年CH地理信息科学 基于ArcGISPro的城市兴趣点专题地图制作-约20411字符终稿.docx_第5页
5/44
25年CH地理信息科学 基于ArcGISPro的城市兴趣点专题地图制作-约20411字符终稿.docx_第6页
6/44
25年CH地理信息科学 基于ArcGISPro的城市兴趣点专题地图制作-约20411字符终稿.docx_第7页
7/44
25年CH地理信息科学 基于ArcGISPro的城市兴趣点专题地图制作-约20411字符终稿.docx_第8页
8/44
25年CH地理信息科学 基于ArcGISPro的城市兴趣点专题地图制作-约20411字符终稿.docx_第9页
9/44
25年CH地理信息科学 基于ArcGISPro的城市兴趣点专题地图制作-约20411字符终稿.docx_第10页
10/44
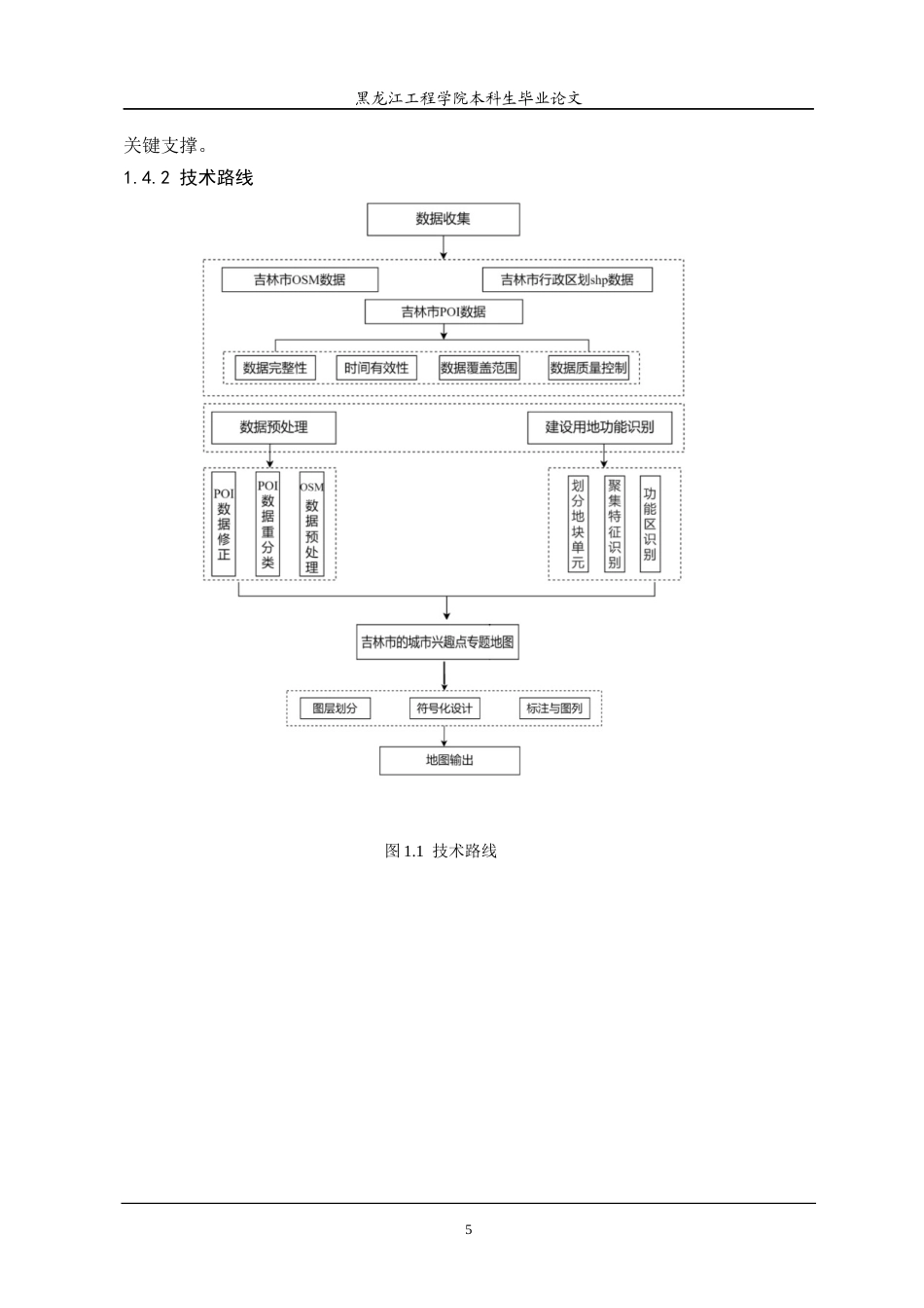
I黑龙江工程学院本科生毕业论文摘 要本研究聚焦吉林市主城区,针对城市空间中科技教育、酒店服务、交通设施、医疗服务、休闲娱乐及旅游景点等多类城市功能要素展开系统分析。研究采用 POI 数据,通过网络爬虫和数据采购等方式收集,并对收集到的数据进行清洗、分类和整合,构建了购物、餐饮、酒店、旅游、教育、医疗、休闲及交通功能要素数据集,采用点密度分析等方法对各类功能要素进行栅格化表征,生成对应的空间密度栅格图层,同时利用 ArcGIS Pro 软件的栅格计算器功能,通过多条件嵌套判断逻辑,实现城市功能区的空间划分,最终制作专题地图展示其空间分布格...

1、当您付费下载文档后,您只拥有了使用权限,并不意味着购买了版权,文档只能用于自身使用,不得用于其他商业用途(如 [转卖]进行直接盈利或[编辑后售卖]进行间接盈利)。
2、本站所有内容均由合作方或网友上传,本站不对文档的完整性、权威性及其观点立场正确性做任何保证或承诺!文档内容仅供研究参考,付费前请自行鉴别。
3、如文档内容存在违规,或者侵犯商业秘密、侵犯著作权等,请点击“违规举报”。

碎片内容

25年CH地理信息科学 基于ArcGISPro的城市兴趣点专题地图制作-约20411字符终稿.docx

您可能关注的文档

发表评论取消回复

  
CH+ 关注
实名认证
内容提供者

该用户很懒,什么也没介绍

确认删除?
qq
  • 联系点击这里给我发消息
搜索教程
联系客服
  • 联系客服
回到顶部