电脑桌面
添加毕设投稿发表到电脑桌面
安装后可以在桌面快捷访问

经销商9个基本拜访步骤-约2122字符.docVIP专享VIP免费

经销商9个基本拜访步骤-约2122字符.doc_第1页
1/4
经销商9个基本拜访步骤-约2122字符.doc_第2页
2/4
经销商9个基本拜访步骤-约2122字符.doc_第3页
3/4
经销商9个基本拜访步骤-约2122字符.doc_第4页
4/4
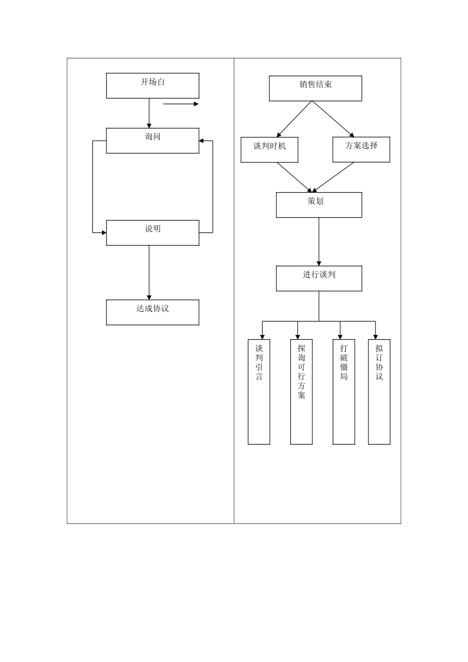
9 个基本拜访步骤1.查阅计划1. 查阅上次拜访结果/记录2. 查阅本次拜访目标3. 快速检查拜访所需要的销售工具/数据2.开始拜访1. 问候客户店面工作人员,寒喧客户关系,获得查店允许2. 问候促销/现货人员,了解情况,鼓励调动其工作热情、价格、使用价目单、记录价格异常变动品项陈列、使用陈列标准、记录陈列/二级陈列表现、问题促销、使用促销计划表、记录促销类型/效果、数量产品、使用产品目录、记录促销缺/短货/系列短缺、新品进入。竞争、使用记录表格、记录竞争对手 1、2、3、4 表现人员、使用检查表格、记录促销员、专柜小姐岗位表现4.记录和核实1...

1、当您付费下载文档后,您只拥有了使用权限,并不意味着购买了版权,文档只能用于自身使用,不得用于其他商业用途(如 [转卖]进行直接盈利或[编辑后售卖]进行间接盈利)。
2、本站所有内容均由合作方或网友上传,本站不对文档的完整性、权威性及其观点立场正确性做任何保证或承诺!文档内容仅供研究参考,付费前请自行鉴别。
3、如文档内容存在违规,或者侵犯商业秘密、侵犯著作权等,请点击“违规举报”。

碎片内容

经销商9个基本拜访步骤-约2122字符.doc

您可能关注的文档

发表评论取消回复

  
报告文案ppt制作9元一篇+ 关注
机构认证
内容提供者

该用户很懒,什么也没介绍

确认删除?
qq
  • 联系点击这里给我发消息
搜索教程
联系客服
  • 联系客服
回到顶部